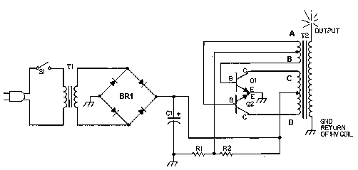
Solid State Tesla Coil/High Voltage Generator Circuit
This is a fun and useful circuit for demonstrating high frequency high voltge. It can produce up to about 30KV, depending on the transformer used. It is cheap and easy to make, thanks to the standard TV flyback transformer used. It can power LASERS (although I have never tried), demonstrate St.Elmo's fire, and even cause a fluorescent bulb to light from as much as 2 feet away.
Parts
R1 27 Ohm 5W Resistor or 27 Ohm 10W Resistor
R2 240 Ohm 5W Resistor or 240 Ohm 10W Resistor
BR1 50 Volt, 6 Amp Bridge Rectifier
C1 8000uf, 35 Volt Capacitor
Q1, Q2 2N3055 NPN Power Transistor
T1 24V 5A Transformer (See "Notes")
T2 TV Flyback Transformer (See "Notes")
S1 115V 3A SPST Switch
MISC Case, Wire, Heatsinks, Line Cord
Notes
1. T2 is a high voltage flyback transformer salvaged from an old TV, or ordered from Fair Radio Sales (see Where To Get Parts). Look for the biggest, most intimidating transformer you can find. Old tube TV's are a good place to look. The transformer should not have a rectifier built in.
2. You will need to rewind the transformer's primary. First, remove the old primary, being careful not to damage the high voltage secondary. If the transformer is wound with all windings incased in plastic, use another transformer. Second, wind on 5 turns of 18 AWG wire, twist a loop (center tap), and then wind on 5 more turns. This becomes winding C-D. Now, wind on 2 turns of 22 AWG wire, twist a loop, and wind on 2 more turns. This becomes winding A-B.
3. Q1 and Q2 will run HOT if not used with a large heatsink. After the circuit has been running for a minute or two, you should still be able to put your finger on the transistors without being burnt. Also, R1 and R2 will run hot.
4. If you experience arcing on the exposed transformer leads, select a lower voltage for T1. If you are powering the circuit with a power supply (see Power Supply), just crank down the voltage.
5. For a real high voltage output, connect a voltage multiplier (from an old TV or computer monitor) to the output of T2.
6. If the circuit does not work, reverse connections A and B.
7. I finally got around to taking some pictures of the circuit in operation. Here they are:
The first picture is the high voltage generator without the voltage multiplier. Notice how hot the arc looks. The second picture is the high voltage generator with a voltage multiplier installed. Notice how much brighter the arc is.
The above pictures of myself were taken with me standing on an pie plate that was resting on the top of a plastic bucket. The pie plate was connected to the high voltage generator and charged to about 40,000V. If you do this, be sure to have someone else turn on and off the high voltage generator. Also, don't touch anything when you are charged. Have everything you are going to hold/play with already sitting on the bucket and away from grounded objects. Remember to take off your watch...
Author:
website: http://www.aaroncake.net





